Penyebab Isuzu Panther Mati Mendadak Dan Cara Mengatasinya - Panther mati mendadak atau mesin sering mati tiba - tiba saat dijalan, saat mobil di kecepatan rendah, kecepatan sedang - kecepatan tinggi atau saat keadaan oper gigi presneling. Penyebab mesin mati mendadak dapat diakibatkan oleh banyak sebab, terutama pada mesin diesel Panther.
Pada kebanyakan kasus yang terjadi hal tersebut disebabkan karena suplai bahan bakar kedalam ruang bakar tidak lancar. Berikut saya akan berikan beberapa analisa awal saat mengahdapi mobil mogok, yang pertama anda harus tenang, sabar, & jangan panik. Kemudian, kenali komponen dasar kendaraan.
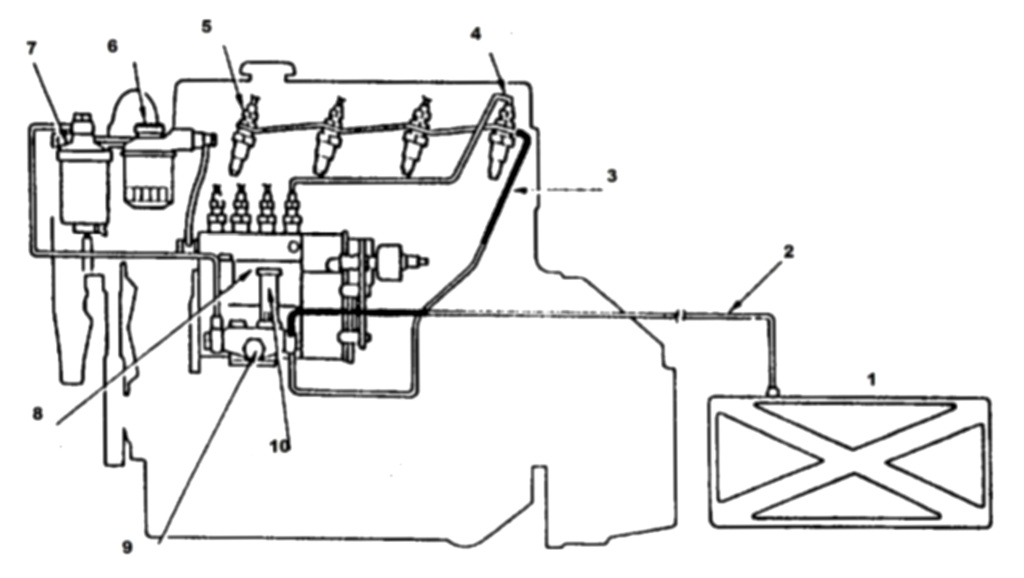
Analisa Penyebab Isuzu Panther Sering Mati Mendadak Di jalan
1. One-Way Valve Di Selang Pernafasan Tangki Tersumbat / Buntu
Gejalanya yang terjadi setiap mobil jalan beberapa saat, mesin tiba - tiba mati. Setelah mesin dimatikan sebentar, kemudian distarter, mesin dapat menyala lagi. Jalan beberapa saat lagi, mogok lagi.Jika hal tersebut terjadi, ketika mesin tiba - tiba mati, buka tutup tangki. Saat dibuka terdengar suara woossshhh / sssssss. ketika dibuka, menandakan tangki vakum, sehingga menyebabkan solar berat saat dihisap oleh injection pump.
Solusi sementara, Jalankan mobil tanpa menggunakan tutup tangki. Jika masalah tersebut tidak muncul lagi, pcv valve di selang pernafasan buntu. Segera perbaiki / bersihkan.
2. Saringan / Filter Solar Kotor
Gejalanya yang terjadi setiap jalan beberapa saat, mesin mati dengan keadaan mbrebet terlebih dahulu, mesin dimatikan beberapa saat, kemudian distarter mesin dapat menyala lagi. Jalan beberpa saat, mati lagi. Ketika tangki dibuka tidak terdengar suara / bunyi wooosshhh.Solusinya, segera ganti filter solar. Jika tidak memiliki filter cadangan, isi solar kedalam filter solar, lalu di kocok - kocok & buang. Umumnya kotoran yang mengendap sudah bayak. Lalukan langkah tersebut sampai solar yang keluar bening.
Setelah itu pasang lagi filter solar dan jalankan mobil. Jika masalah teratasi, masalah memang pada filter solar yang buntu, segera ganti begitu menemukan toko parts.
Jika kondisi filter solar sudah terlalu buruk, langkah emergency adalah, pastikan kondisi sedimenter bersih. Setelah itu selang keluar dari sedimenter masukkan langsung ke injection pump, jalankan hingga ketemu toko parts.
Filter solar yang sudah kotor atau kondisinya sudah buruk dapat menyebabkan aliran bahan bakar solar terganggu. Tetapi masalah tersebut dapat juga disebabkan oleh water sedimenter yang kotor & penuh air, atau juga dapat disebabkan bosch pump yang perlu di kalibrasi ulang.
Ada baiknya untuk segera membersihkan juga tangki bahan bakar dari endapan lumpur dan kotoran yang sudah terlalu banyak terdapat di dalam tangki bahan bakar.
3. Shut - OFF Valve Atau Solenoid Switch
Mesin tiba - tiba mati, mobil tanpa mbrebet / tersendat. Cara mengeceknya, Kunci kontak posisi ON. Cabut soket solenoid, pasang, dan pegang solenoidnya. Jika terasa ada klik klik klik, ketika soket di lepas / sambung / lepas / sambung, kemungkinan Valve masih bagus. Jika sudah mati, klik klik tersebut tidak akan terasa.
Solusinya, lepas solenoide valve dari injection pump, lepas inti tengahnya, pasang lagi. Dengan melepas inti tengah solenoid, efeknya adalah mesin dapat hidup, tetapi tidak dapat dimatikan.





















